
304不锈钢封闭型沉头抽芯铆钉51级GB12616.4
规格尺寸:3-4.8
标准号:GB/T12616.4-2004
材质:304不锈钢
头型:封闭型沉头
商品详情
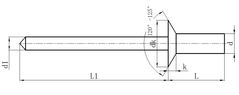
产品图纸

产品名称:
304不锈钢封闭型沉头抽芯铆钉51级GB12616.4
产品参数


【产品优势】
高耐腐蚀性
304不锈钢材料能够有效抵抗大部分酸碱环境和腐蚀介质,保证了产品在恶劣环境下的长时间使用,广泛应用于食品、化工、船舶等行业。
封闭型沉头设计
该铆钉的封闭型沉头结构能够增强连接面的密封性,防止液体和气体的渗透,特别适合防水、防尘的场合使用,提升了设备的可靠性。
高强度连接性能
304不锈钢的高强度和良好的韧性使得该铆钉能够承受更高的剪切力和拉力,确保连接牢固,适用于振动、冲击较大的工作环境。
符合GB12616.4标准
作为符合GB12616.4标准的产品,304不锈钢封闭型沉头抽芯铆钉确保了产品的尺寸、质量、性能等方面的统一性和标准化,能为用户提供高质量的保障。
易于自动化安装
该铆钉设计适配自动化设备进行高效安装,缩短了生产周期,减少了人工安装的误差,提高了生产效率。
【组合方案】
密封件配套使用
结合密封件(如橡胶垫圈)使用,增强连接部位的密封性,尤其在液体输送系统和密闭容器中的应用效果更加突出,防止液体泄漏。
紧固剂搭配应用
在铆钉安装过程中配合使用螺纹锁固胶或专用紧固剂,可以有效提高连接部位的抗松动性和抗振性能,特别适合汽车、航空及高负载机械设备。
缓冲垫搭配使用
结合缓冲垫(如硅胶垫圈)使用,可以减少振动和冲击带来的影响,适用于电子设备、精密仪器等要求高稳定性的应用场景。
防水膜配套使用
在需要防水保护的应用场合,可以结合防水膜使用,提供双重防护,防止铆钉接口部位的水分渗透,增强其在湿气环境下的可靠性。
高温防护材料配套使用
对于高温环境,可以选择与耐高温材料(如陶瓷垫圈)搭配使用,确保铆钉在极限温度下仍能保持稳定性与耐久性。
【失效案例】
案例一:汽车发动机盖连接件失效
在某汽车制造过程中,部分采用304不锈钢封闭型沉头抽芯铆钉的发动机盖连接件由于长期处于高温与湿度环境下,发生了腐蚀和连接松动的现象。
通过对比,发现未结合防水膜使用时,铆钉接口处的水分渗透导致了腐蚀现象。
改进方案:结合防水膜使用后,铆钉接口处的密封性得到有效增强,成功避免了失效。
案例二:船舶外部连接件失效
在某船舶的外部金属连接处,使用304不锈钢封闭型沉头抽芯铆钉时,由于未配合紧固剂进行安装,连接件在高负荷、强振动的工作条件下发生了松动。
改进方案:引入螺纹锁固胶配合安装,增加了连接部位的抗松动性,有效避免了松动故障。
【应急处理】
过载紧急处理
若发现铆钉连接处出现松动或破损,应立即检查连接部位的紧固状态,使用合适的紧固工具加固连接。同时,应对过载状态进行评估,减少负载并立即替换损坏的铆钉。
腐蚀故障应急处理
在发现铆钉表面出现腐蚀迹象时,应对腐蚀源进行隔离,清除表面锈蚀物质,检查密封性并重新加固。对于已损坏的铆钉,应迅速更换,并结合防腐涂层或密封件防止再次发生腐蚀。
振动过大导致松动
若由于振动引起的松动,可使用螺纹锁固胶对铆钉连接进行二次加固。确保振动区域的负载稳定后,可以重新装配或替换铆钉。
【保存提示】
储存环境
应将304不锈钢封闭型沉头抽芯铆钉储存在干燥、清洁的环境中,避免与酸性或碱性物质接触。长时间存放时,建议在铆钉表面涂上一层防锈油,以避免湿气和空气中的腐蚀成分侵蚀。
避免撞击和划伤
在搬运和存储过程中,避免铆钉受到剧烈碰撞或划伤,以防损坏表面,影响使用性能。可使用专用容器存放,以避免与其他金属材料接触造成摩擦和损伤。
适当温度控制
保持储存温度在常温环境中,避免过高或过低的温度对铆钉材料产生不良影响,尤其是在极寒或高温环境下,铆钉材质的韧性和强度可能发生变化。
定期检查
对于长期存放的铆钉,建议定期检查表面状态,确保没有锈蚀、氧化或变形。如果发现铆钉有损坏或变形,应及时处理或更换,以确保后续使用的可靠性。
避免潮湿环境
304不锈钢尽管具有较好的耐腐蚀性,但在高湿度环境中仍然可能受到影响。避免将铆钉存放于湿气较重的地方,确保储存环境干燥通风,以延长其使用寿命。